Озонотерапевтичний апарат на коронному розряді
Вантажиться...
Дата
2020-12
Науковий керівник
Назва журналу
Номер ISSN
Назва тому
Видавець
КПІ ім. Ігоря Сікорського
Анотація
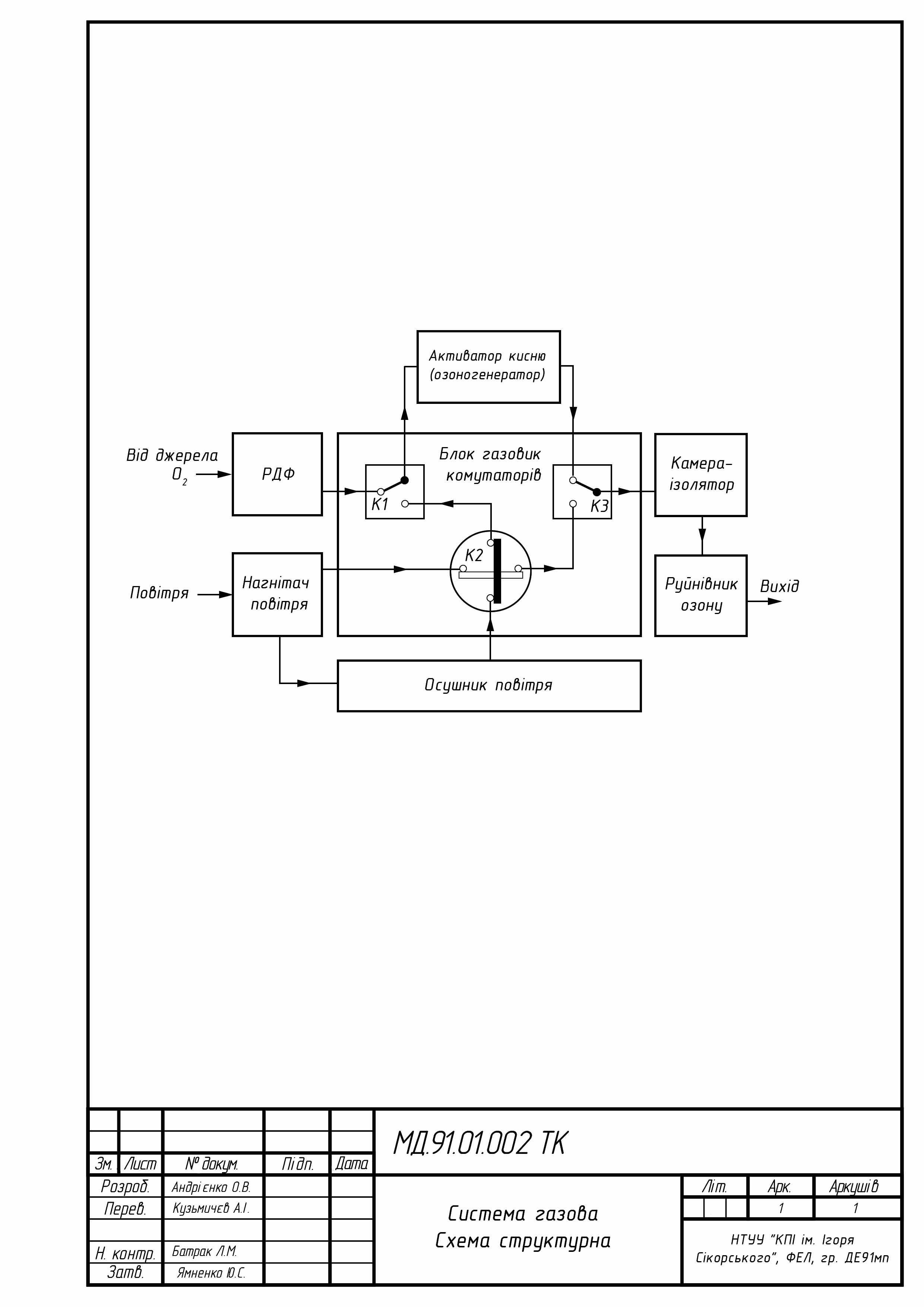
Мета представленої роботи це створення протипу озоно-терапевтичного апарата на коронному розряді і експериментальна валідація обраного напрямку його розробки.
Для досягнення поставленої мети вирішувалися наступні задачі: створено фізико-топологічну модель коронного розряду, яка враховує найбільш важливі фізичні процеси в дрейфово-дифузному наближенні в умовах дії самоузгодженого електричного; виконано експериментальні дослідження коронного розряду на дослідному макеті з тонко-дротовим катодом і порівняні результати моделювання з експериментом з метою валідації побудованої моделі коронного розряду; виконані розрахунки з метою обґрунтування структури і геометрії озонатора й іншого приладдя для озоно-терапевтичного апрата; розроблено ескізний проект озоно-терапевтичного апрату. Результати досліджень були апробовані на наукових конференціях.
Опис
Ключові слова
озоно-терапевтична апаратура, озон, газова система, коронний розряд, моделювання, ozone-therapeutic equipment, ozone, gas system, corona discharge, modeling
Бібліографічний опис
Андрієнко, О. В. Озонотерапевтичний апарат на коронному розряді : магістерська дис. : 171 Електроніка / Андрієнко Ольга Володимирівна. – Київ, 2020. – 104 с.